Новости, обзоры и акции
Новости, обзоры и акции
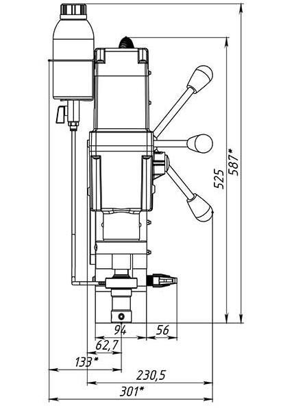
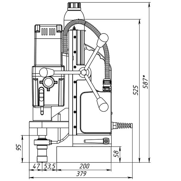
Магнитный сверлильный станок MBSA-100
Особенности
Этот переносной сверлильный станок на магнитном основании предназначен для промышленного использования, сверления большого количества отверстий диаметром до 100 мм, и, также будет надежен при использовании спиральных сверл диаметром до 32 мм. Это станок с подвижным магнитным основанием, то есть при активированном электромагните возможно разъединить жесткую связь станины с магнитом и отрегулировать положение центра сверла, потом снова жестко закрепить станок поворотом рукоятки. Эта функция весьма полезна при сверлении вертикальных поверхностей, потому что трудно с первой попытки попасть довольно тяжелым магнитым станком в центр будущего отверстия. На магнитных станках зарубежных производителей такая функция называется "магнитное основание с юстировкой". В 2014 году наши инженеры усовершенствовали систему подвижного магнитного основания, создав конструкцию, не имеющую аналогов по надежности, износостойкости и удобству. В отличие от иностранных станков, имеющих подобный механизм, наш невозможно "провернуть", а для разобщения магнита и корпуса станка не требуется ключ.
Преимущества
- Усовершенствованное подвижное основание относительно магнита в секторе 60 градусов и смещение его вдоль магнита на 15 мм., позволяет отрегулировать положение закрепленного в любом положении станка, с тем, чтобы с максимальной точностью просверлить отверстие в стальной балке, переборке или трубе.
- Электромагнит, усовершенствованный в 2012 г., с увеличенной прижимной силой и специальной водостойкой пропиткой катушек.
- Мощный немецкий электродвигатель Eibenstock с двухкамерной системой смазки редуктора и механическим переключением четырех скоростей. Первая скорость – пониженная, позволяет сверлить биметаллическими коронками.
- Высокая точность сверления - максимальное радиальное биение в пределах 0,08 мм.
- С использованием дополнительных адаптеров АКСТ, станок можно устанавливать на неровных поверхностях, трубах, а так же не магнитных трубах. Конструкторы нашей компании готовы рассмотреть и разработать любую оснастку, которая решит Ваши задачи.
Дополнительные возможности
- Установка адаптера для врезки в трубы диаметром от 650 мм (адаптер АКСТ3)
Комплектация
- магнитный сверлильный станок
- держатель корончатого сверла с хвостовиком Weldon 19 и внутренним подводом СОЖ
- ключи для смены инструмента и регулировки
- клин для снятия конуса Морзе
- бачок для СОЖ с трубкой
- страховочная цепь
- клин для снятия оснастки
- рукоятки
- ящик
Магнитный сверлильный станок MBSA-100 в продаже по цене 145 866 руб. в Интернет-магазине Проф-инструмент с доставкой в Хантах-Мансийске и Хантах-Мансийском Автономном Округе - Югре. Звоните по телефону +8 (800) 302-10-51.
